收回收购存量闲置土地是今年以来中央及地方去库存的重要抓手,期间配套政策不断完善,专项债收回收购存量闲置土地取得新的进展,根据中指监测,截至8月18日,各地公示拟使用专项债券收回收购存量闲置土地的数量已超4300宗,拟收储用地面积超2.2亿平方米,其中多省市已发或将要发行相应专项债券合计超1500亿元。
各地公示拟使用专项债收购土地金额超5500亿元,广东仍为拟收储规模最大的省份
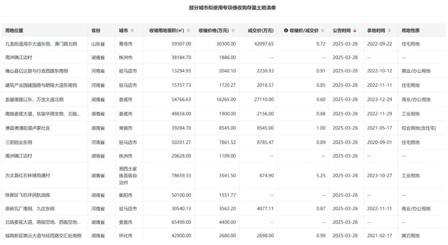
根据中指不完全统计,截至8月18日,全国各地公示拟使用专项债收回收购存量闲置土地的数量超4300宗,总用地面积超2.2亿平方米,总金额超5500亿元。
表:各省市拟使用专项债收购存量闲置土地的规模(截至8月18日)
数据来源:各地自然资源局等官方网站,中指数据CREIS
从不同地区来看,31个省市中有26个省市公示拟使用专项债收购存量土地情况,其中广东省公示拟收储总金额近790亿元,位居第一;浙江公示金额超600亿元。各城市中,重庆拟收储金额达533.8亿元,收储用地面积超1815万平方米,均居首位,杭州、郑州拟收储金额均超150亿元;各城市中,一二线城市公示地块合计989宗,拟收储金额超2050亿元,金额占比达37%。
从用地性质来看,住宅用地仍是收储主力,近两个月占比有所提升。公示的地块中住宅用地宗数占比约66%,商办用地占比约24%,工业用地占比约6%,其中,5月以来住宅用地占比保持在高位,7-8月均在70%以上。从所有权来看,当前拟收储的土地中,绝大多数宗地属于地方国企,占比约84%,民企占比仅约13%。
从收储价格来看,与出让时的成交单价相比,约50%的地块拟收储价格与成交单价的比值在0.8-1.0之间,约31%的地块比值在0.9-1.0之间,占比均较此前有所下降,约17%的地块拟收储价格与成交价的比值在0.7-0.8之间,部分地块拟收储价格的折扣较大。
更多拟使用专项债收购存量闲置土地的公示清单(包含拟收储价格、用地单位的企业类型等),请查看中指数据库。
广东、湖南、安徽等7省已发行/即将发行用于收购存量土地的专项债总额超1500亿元,但仍不足拟收储三成
根据中指监测,截至8月18日,广东、湖南、安徽、山东等7省已发行/即将发行的用于收购存量闲置土地的专项债总金额超1500亿元,占拟收储总金额的27%,其中广东发行377亿元,居首位,湖南发行5次,合计307亿元,位居第二。各城市中,长沙发行专项债金额超90亿元,位居各城市首位,一二线城市合计发行约320亿元,约占总发行金额的21%。
表:各省市拟使用专项债收购闲置存量土地及发债规模(截至8月18日)
资料来源:中指研究院综合整理
用于收购存量闲置土地的专项债实际发行规模占比低,仍集中于“自审自发”试点地区,其余省市专项债发行有待提速
2月末以来,各地陆续发行专项债券用于收回收购存量闲置土地,已发行的地区均为专项债“自审自发”试点地区,非“自审自发”试点地区尚未发行相关专项债,发行节奏整体较慢。
另外,截至8月18日,各地累计发行新增专项债券约2.88万亿元,已发行用于收回收购存量闲置土地的专项债仅占约5.2%。今年我国安排地方政府新增专项债券额度为4.4万亿元,已发行接近70%,若按相同占比计算,后续新增专项债券中用于收购存量闲置土地的金额约800亿元,全年合计约2300亿元。6月13日国常会中明确提出“要对全国房地产已供土地和在建项目进行摸底”,有利于针对性优化相关政策,加速各地推进收回收购存量闲置土地,若接下来非“自审自发”地区能实现新的突破,预计也将进一步提振市场预期,更好的改善市场供求关系。
本文来自微信公众号“中指研究院”,作者:中指研究,36氪经授权发布。
